Νέο αερόσακο για ανοιχτά αυτοκίνητα ετοιμάζει η Porsche
Την πατέντα ενός νέου αερόσακου για την πρώτη κολόνα ανοιχτών αυτοκινήτων κατέθεσε η Porsche
- -
- -
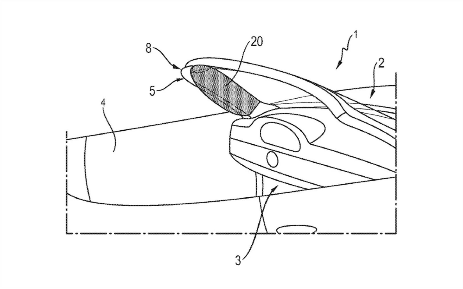
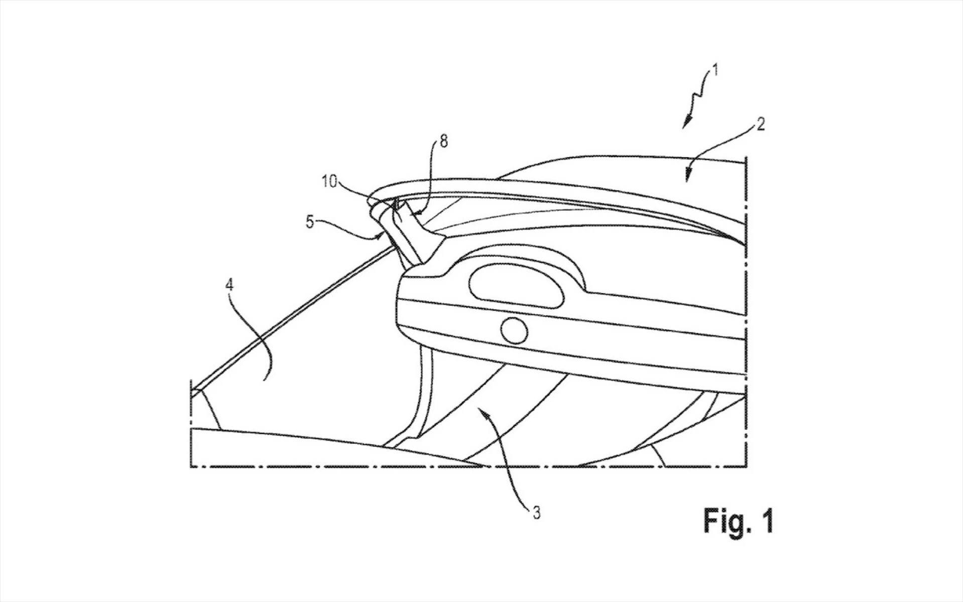
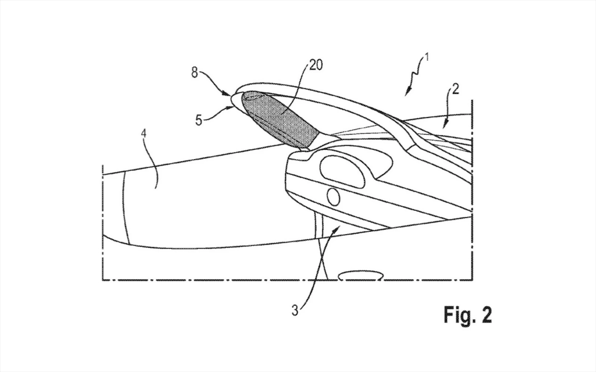
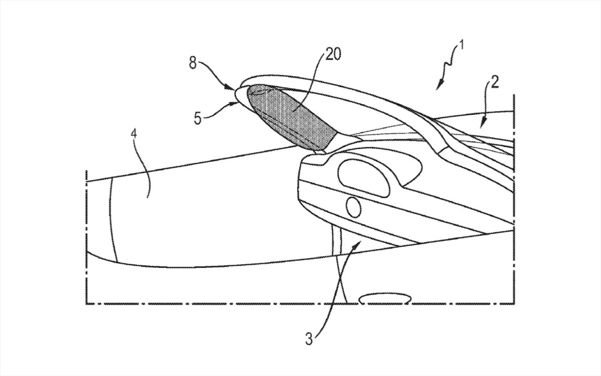
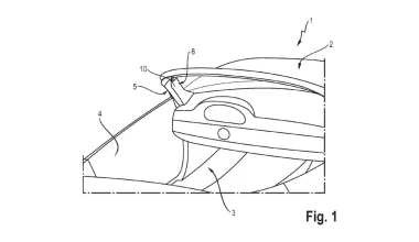
Αίτηση πατέντας στα γραφεία ευρεσιτεχνίας στην Αμερική κατέθεσε η Porsche για ένα νέο αερόσακο που θα τοποθετείται σε ανοιχτά αυτοκίνητα. Επειδή τα ανοιχτά αυτοκίνητα δεν έχουν σταθερή οροφή, σε ορισμένες περιπτώσεις ατυχήματος δεν προσφέρουν την ίδια ασφάλεια με τα κλειστά μοντέλα.
Έτσι, η Porsche δημιούργησε έναν αερόσακο για την πρώτη κολόνα δίπλα στο παρμπρίζ, ο οποίος μπορεί να συμβάλει στην ασφάλεια των επιβαινόντων. Στο διάγραμμα φαίνεται ο αερόσακος να αναπτύσσεται κατά μήκος της πρώτης κολόνας και σύμφωνα με την Porsche προσφέρει ασφάλεια στην περίπτωση που ο οδηγός μετακινηθεί προς τα εμπρός και πλάγια.

























και στη συνέχεια 'Προσθήκη στην οθόνη αφετηρίας'